综合介绍电力用户自动抄表系统相关设计方案
来源:元器件交易网 作者:—— 时间:2012-01-11 17:04
电子电能表与电能测量技术讲座--电力用户自动抄表系统
综合介绍电力用户自动抄表系统的系统结构、采集终端、集中器和相关的通信信道。
前面17讲介绍了许多新型电子电能表和有线、无线抄表系统。本讲将以前讲过的内容疏理一下,帮助读者对讲座内容有个全面的了解。与此同时,对抄表系统中的采集终端和集中器的典型设计方案也作较详细介绍。

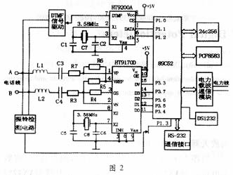
一种可采集多个用户的终端原理电路见图2。它由单片机、小键盘、显示器、串行通信电路、存贮器等构成。经程序控制,此终端具有远方自动抄表和人工就地抄表双重功能;具有设置用电常数,采集、处理、存储各用户用电量及与一级设备通信的功能。
由电子电能表的工作原理知,一段时间之内用户消耗的有功电能EP为:
式中,Δt为采样时间间隔;Ui、Ii为电压、电流的第i个采样值;n为这段时间内的采样次数。表内A/D转换电路将Ui、Ii转换为对应的数字量;表内单片机或DSP对它们作数字乘法运算,产生此时刻的有功功率;边采集处理边累加,经过一段时间后即得到这段时间内用户消耗的有功电能。
电子电能表通过串行口(RS485或RS232)接采集终端,并按事先约定的通信规约接受采集终端的访问,输出积算周期的用电量等。
为保证掉电时不丢失信息,采集终端采用E2PROM存储器存储用户的用电数据(用户号、年月、用电量等)。为防止终端死机,图2中设有看门狗电路。单片机定时发脉冲给看门狗,使它内部的计数器清零;如果在预定时间内看门狗没有收到单片机发来的脉冲,则主动发一脉冲给单片机,使其复位。

图3是一种以单片机89C52为核心构成的集中器硬件电路[1]。它主要由振铃检测电路、DTMF(双音多频)信号收发电路、载波通信模块、存储器和时钟电路等5部分组成。






