高增益直接耦合多级放大电路设计方案
来源:元器件交易网 作者:—— 时间:2011-12-29 14:32
所谓电压传输特性,实际上是一种关系曲线如图4-3,即输出电压uo和输入电压ui之间的关系曲线。关系曲线明显地为两个区域,线性放大区和饱和区,斜线反映了线性放大区输入与输出之间的关系。斜率就是电压放大倍数Av=uo/ui,输出与输入幅值(或有效值)之比,两端水平线是饱和区的现象,表明输出电压uo不随输入ui =uP - uN 而变,而是恒定值+Uom(或-Uom),由特性曲线还看出线性区非常窄,这是因为差模开环放大倍数Aod非常高,可达几十万倍,只有当ui =|uP - uN |< 28μV时,电路才工作在线性区。
第1页第2页
四、集成运放中的电流源电路
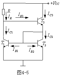
1.镜像电流源(图4-5.4)
1 组成
由三极管T2和接成二极管T1的组成,发射结并联,即UBE1 = UBE2

2 工作原理
IC2 = IR /(1+2/β) (4-1)
如果β>>2,则
IC2 ≈ IR = (VCC-UBE)/R (4-2)
3 问题
a)IC2随VCC变化; b)要使IC2小,R必须很大
c)对温度漂移没有抑制作用 d)输出电阻不够大 RO =rce2
2.威尔逊电流源(图4-7.5)
1 组成
在镜像电流源基础上加了T3
2 工作原理

(4-3)

下一篇:高性能宽带信息网技术研究开发方案
- •分相放大电路分析实验电路图2019-01-23
- •低照度放大电路图及原理2019-01-23
- •光棒放大电路图及原理2019-01-23
- •红外探测器放大电路图及原理2019-01-23
- •脉冲放大电路图及原理2019-01-23
- •单管低频电压放大电路2019-01-23
- •硫化铅光电元件的放大电路2019-01-23
- •数控线切割机上用的光电放大电路2019-01-23
- •压力测量放大电路2019-01-23
- •应变片通用放大电路2019-01-23